关注
已有0人关注咨询电话:13912345678
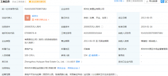
汇泉西悦城
地址:郑州市中原区陇海西路与西四环交叉口
参考均价9900元/平
优惠活动价格详情
万达旁地铁口实景准现房,88-109㎡三居特惠99XX起并送车位一个或补贴月供!
2022-06-22 16:51:35
订阅楼盘动态和销控信息

谷天龙
本盘带看0 次,成交0单
留下您的联系方式
我们会为您推荐最适合您的楼盘
获取验证码
发送
换一换

陈车军
本盘带看0次,成交0单
在线咨询
微信扫码打电话
扫码失败可拨打
4008893171 转 5363

张艺萌
本盘带看0次,成交0单
在线咨询
微信扫码打电话
扫码失败可拨打
13912345678

樊鑫
本盘带看0次,成交0单
在线咨询
微信扫码打电话
扫码失败可拨打
13912345678

马孟琳
本盘带看0次,成交0单
在线咨询
微信扫码打电话
扫码失败可拨打
13912345678

冻一恒
本盘带看0次,成交0单
在线咨询
微信扫码打电话
扫码失败可拨打
13912345678

马新杰
本盘带看0次,成交0单
在线咨询
微信扫码打电话
扫码失败可拨打
13912345678

马超阳
本盘带看0次,成交0单
在线咨询
微信扫码打电话
扫码失败可拨打
13912345678
中原区中原华侨城
建面89-125㎡
均价 9800 元/㎡
中原区汇泉景悦城
建面98.41-130.69㎡
均价 12100 元/㎡
中原区裕华城
建面89-116㎡
均价 12900 元/㎡
中原区和润林湖美景
建面77.23-116.66㎡
均价 15000 元/㎡
官方微信
APP下载
免责声明:楼盘信息由项目开发商或其他第三方提供,部分信息可能会与实际情况有出入,仅供您参考,不作为您交易的决策依据。您在决策前应与开发商/相关产权方核实相关信息,以政府登记备案及项目开发商售楼处为准。我司将不对您交易过程中对本网站信息产生的依赖承担任何的责任。如楼盘信息有误或其他疑义,请拨打我司热线进行反馈。
北京我爱我家房地产经纪有限公司版权所有 | 营业执照 | 网络经营许可证 京ICP备09041444号 | ©Copyringt 2025 5i5j.com | 隐私政策
违法和不良信息举报电话:4008 515 515 | 违法和不良信息举报邮箱:Internet@5i5j.com
涉未成年人举报:举报电话 010-53949873,举报邮箱 hggl@5i5j.com
京公网安备 11010502036296号
| 网上有害信息举报专区